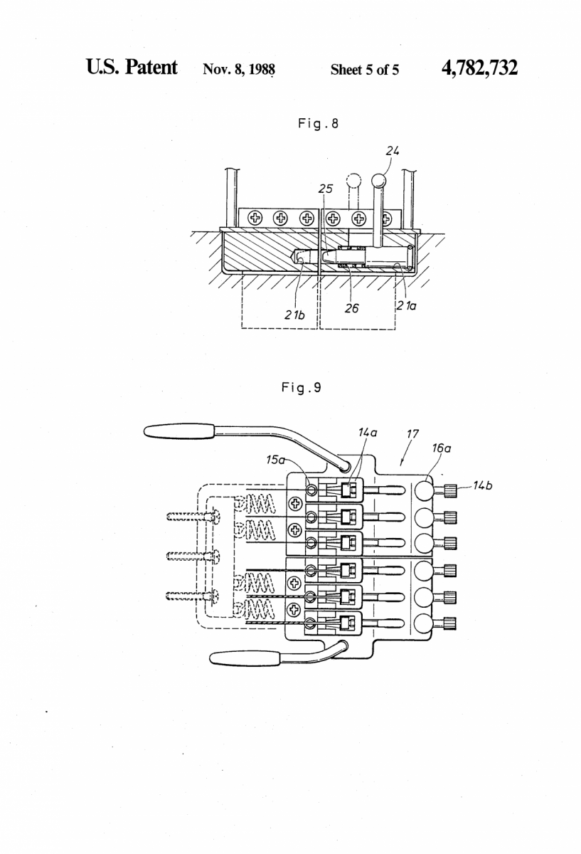
Lo he visto en una guitarra de Steve Vai. Era un puente flotante con dos palancas, pero no entiendo su función.
¿Qué es el split trémolo?
OFERTAS Ver todas
-
-15%Kemper Profiler Player
-
-17%Harley Benton DNAfx GiT Mobile II
-
-41%Fishman Rare Earth Single Coil PRO‑REP‑101
Como te dijo Tariu, es un puente de acción dividida, ¡Sólo apto para Vai
!
Por cierto, me recuerda al curioso sistema del puente de Head y Munky de Korn, que el puente tiene doble enganche (A los extremos del puente) y está en forma de U, según dicen Head y Munky, es para bajarle la acción mientras estás tocando, ni idea de si es cómodo o no, pero si curioso, pero en este todas las cuerdas bajan de tono a la vez.
Una foto [ Imagen externa no disponible ]
!Por cierto, me recuerda al curioso sistema del puente de Head y Munky de Korn, que el puente tiene doble enganche (A los extremos del puente) y está en forma de U, según dicen Head y Munky, es para bajarle la acción mientras estás tocando, ni idea de si es cómodo o no, pero si curioso, pero en este todas las cuerdas bajan de tono a la vez.
Una foto [ Imagen externa no disponible ]
Nuevo post
Regístrate o identifícate para poder postear en este hilo
