Yo tuve un blackstar ht1r metal que tan solo tenía el ISF para variar el tono y cada vez que jugaba con el para darle otro matiz al sonido me echaba a llorar. Y eso que se apreciaban diferencias al mover el control pero que apenas dan juego y casi siempre te quedas a medias, probablemente con la ecualización de sus hermanos mayores aporte algo mas el controvertido pote, que por cierto, en un G5 infinium se llama morphing.
Control ISF de los amplificadores Blackstar
OFERTAS Ver todas
-
-9%Harley Benton TE-20HH SBK w/Bag Bundle
-
-12%Universal Audio UAFX Lion 68 Super Lead Amp
-
-11%Digitech Trio+ Band Creator
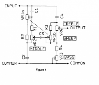
El ISF en los Blackstar es un contour, analógico, al estilo del de los Valvestate. Consta de un potenciómetro doble que ajusta un par de filtros funcionando al unísono que generan una especie de barrido bastante particular afectando basicamente medios y agudos altos. No tiene relación con sonidos americanos o ingleses sino con reconducir el sonido a presentaciones "modernas", por decirlo de alguna manera.
Baneado
#14
Lo de sonido americano/británico me parece más una idea de marketing que algo real, porque de un Fender a un Marshall (por ejemplo) van tantas diferencias que en un solo circuito se puedan dar ambos mundos. Cierto que el control es útil y hace al amplificador versátil, pero de eso a que vayas a tener sonidos Fender y Marshall con solo girar un botón...
Lo de sonido americano/británico me parece más una idea de marketing que algo real, porque de un Fender a un Marshall (por ejemplo) van tantas diferencias que en un solo circuito se puedan dar ambos mundos. Cierto que el control es útil y hace al amplificador versátil, pero de eso a que vayas a tener sonidos Fender y Marshall con solo girar un botón...
skamot escribió:Estás algo equivocado amigo, el ISF es un control de eq pasivo. Lo que hace es variar simultaneamente un filtro paso bajo y un paso alto de forma que vas moviendo un pico de atenuación de los medios, en la posicion "britanica, tienes graves-medios y en la "americana" medios-agudos, y por cierto que tenga "chips" no significa que sea digital, los Amplificadores operacionales son "chips" y son analógicos.Digital, dentro del ampli son todo chips.
Adjunto foto del circuito asi como el pdf de la patente
▶
1 respuesta directa
Quadrophenic escribió:A la derecha, más cuerpo y gordura... a la izquierda, menos graves y mayor definición.
Holas concuerdo con el colega, para mi es un sonido para los limpios o semi saturados los dos canales de arriba y para los dos de abajo toda la definición para la distorsión. me parece un gran acierto.
saludos
Yo me hice con un potenciometro doble y un par de jacks uno, para meterlo por el lazo de efectos de mi peavey Bravo y como no me gustaba la respuesta fui cambiando valores hasta que me gustó. Lo saqué todo de esta página que estamos media población de litronicos http://revolutiondeux.blogspot.com.es/2012/05/blackstar-isf-control-whats-going-on.html?m=1
Nuevo post
Regístrate o identifícate para poder postear en este hilo
