Hola,
Después de mucho tiempo desaparecido me he dado cuenta que no expliqué como había hecho el cacharro. (Aviso que va chapa...)
Como ya expliqué he sustituido todos los potenciómetros manuales por unos optoacopladores que manejo con arduino. De esta manera lo que consigo es poder manejar el amplificador como quiera, programar diferentes sonidos, ecualización, volumen y controlo el cambio de canal.
Existen unos integrados que son potenciómetros digitales, pero no hay de muchos valores y no coincidían con las necesidades del amplificador. Además he intentado que la señal de audio no pasara en ningún momento por ningún transistor ni elementos semiconductores para evitar la distorsión de cruce. Si no ¿qué sentido tiene hacer un amplificador a válvulas?
Un amigo me dijo que usara optoacopladores resistivos, pero el valor de la resistencia depende de la temperatura, varia de unos a otros y no hay manera de dejarlo estable.
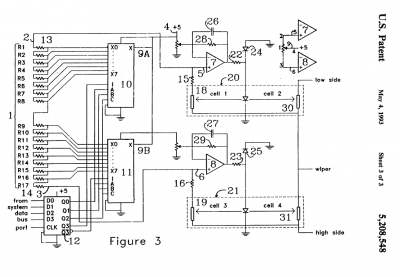
Luego encontré el circuito que mesa boogie utilizó en el triaxis y lo readapte un poco. Básicamente todo el invento consiste en un optoacoplador formado por un led y dos fotoresistencias. Se supone que, como las dos LDR dependen de la misma fuente de luz, tienen la misma resistencia (más o menos). Entonces una de ellas se utiliza como referencia que se mete en un comparador formado por un operacional. El oamp gobierna el led que afecta a la resistencia del LDR. A la entrada negativa del oamp hay un trimmer que marca un voltaje de referencia y a la entrada positiva hay un divisor resistivo formado por el LDR y un array de resistencias en serie que se switchean con un multiplexor. Al cambiar el divisor de la pata positiva el operacional se desequilibra y corrige la intensidad del led para reajustar el circuito variando la resistencia de las LDR. De esta forma se consigue que el LDR que queda libre tenga una resistencia estable pudiendo ajustarla a los valores que se desee.

Creo que mirando el esquema se puede entender bastante bien el funcionamiento. Yo sustituí los multiplexores y las resistencias por un pequeño potenciómetro digital que puedo controlar fácilmente con arduino.

Y bueno, tengo bastantes problemas de ruidos. Al diseñar la pcb del circuito digital no aislé las masas de la parte digital y la analógica. Al mandar los datos a través del bluetooth se escucha un “piiiiiiii” que no se si es por la señal de reloj de la comunicación I2C o se me está filtrando por la comunicación bluetooth, espero corregirlo y volvere a mandar hacer las pcb´s. La tarjeta digital se alimenta directamente desde el transformador del ampli, rectifico y filtro. Creo que le puse pocos condensadores de filtrado y tengo un zumbido que me está entrando por ahí también.
Ahora tengo el proyecto paradísimo desde antes del verano y no podré retomar hasta la vuelta de navidades, pero si alguien tiene curiosidad o quiere ayudarme con el proyecto puede pedirme los esquemas por MP.
Saludos!
Después de mucho tiempo desaparecido me he dado cuenta que no expliqué como había hecho el cacharro. (Aviso que va chapa...)
Como ya expliqué he sustituido todos los potenciómetros manuales por unos optoacopladores que manejo con arduino. De esta manera lo que consigo es poder manejar el amplificador como quiera, programar diferentes sonidos, ecualización, volumen y controlo el cambio de canal.
Existen unos integrados que son potenciómetros digitales, pero no hay de muchos valores y no coincidían con las necesidades del amplificador. Además he intentado que la señal de audio no pasara en ningún momento por ningún transistor ni elementos semiconductores para evitar la distorsión de cruce. Si no ¿qué sentido tiene hacer un amplificador a válvulas?
Un amigo me dijo que usara optoacopladores resistivos, pero el valor de la resistencia depende de la temperatura, varia de unos a otros y no hay manera de dejarlo estable.
Luego encontré el circuito que mesa boogie utilizó en el triaxis y lo readapte un poco. Básicamente todo el invento consiste en un optoacoplador formado por un led y dos fotoresistencias. Se supone que, como las dos LDR dependen de la misma fuente de luz, tienen la misma resistencia (más o menos). Entonces una de ellas se utiliza como referencia que se mete en un comparador formado por un operacional. El oamp gobierna el led que afecta a la resistencia del LDR. A la entrada negativa del oamp hay un trimmer que marca un voltaje de referencia y a la entrada positiva hay un divisor resistivo formado por el LDR y un array de resistencias en serie que se switchean con un multiplexor. Al cambiar el divisor de la pata positiva el operacional se desequilibra y corrige la intensidad del led para reajustar el circuito variando la resistencia de las LDR. De esta forma se consigue que el LDR que queda libre tenga una resistencia estable pudiendo ajustarla a los valores que se desee.

Creo que mirando el esquema se puede entender bastante bien el funcionamiento. Yo sustituí los multiplexores y las resistencias por un pequeño potenciómetro digital que puedo controlar fácilmente con arduino.

Y bueno, tengo bastantes problemas de ruidos. Al diseñar la pcb del circuito digital no aislé las masas de la parte digital y la analógica. Al mandar los datos a través del bluetooth se escucha un “piiiiiiii” que no se si es por la señal de reloj de la comunicación I2C o se me está filtrando por la comunicación bluetooth, espero corregirlo y volvere a mandar hacer las pcb´s. La tarjeta digital se alimenta directamente desde el transformador del ampli, rectifico y filtro. Creo que le puse pocos condensadores de filtrado y tengo un zumbido que me está entrando por ahí también.
Ahora tengo el proyecto paradísimo desde antes del verano y no podré retomar hasta la vuelta de navidades, pero si alguien tiene curiosidad o quiere ayudarme con el proyecto puede pedirme los esquemas por MP.
Saludos!
1
Responder
Citar



